
100%
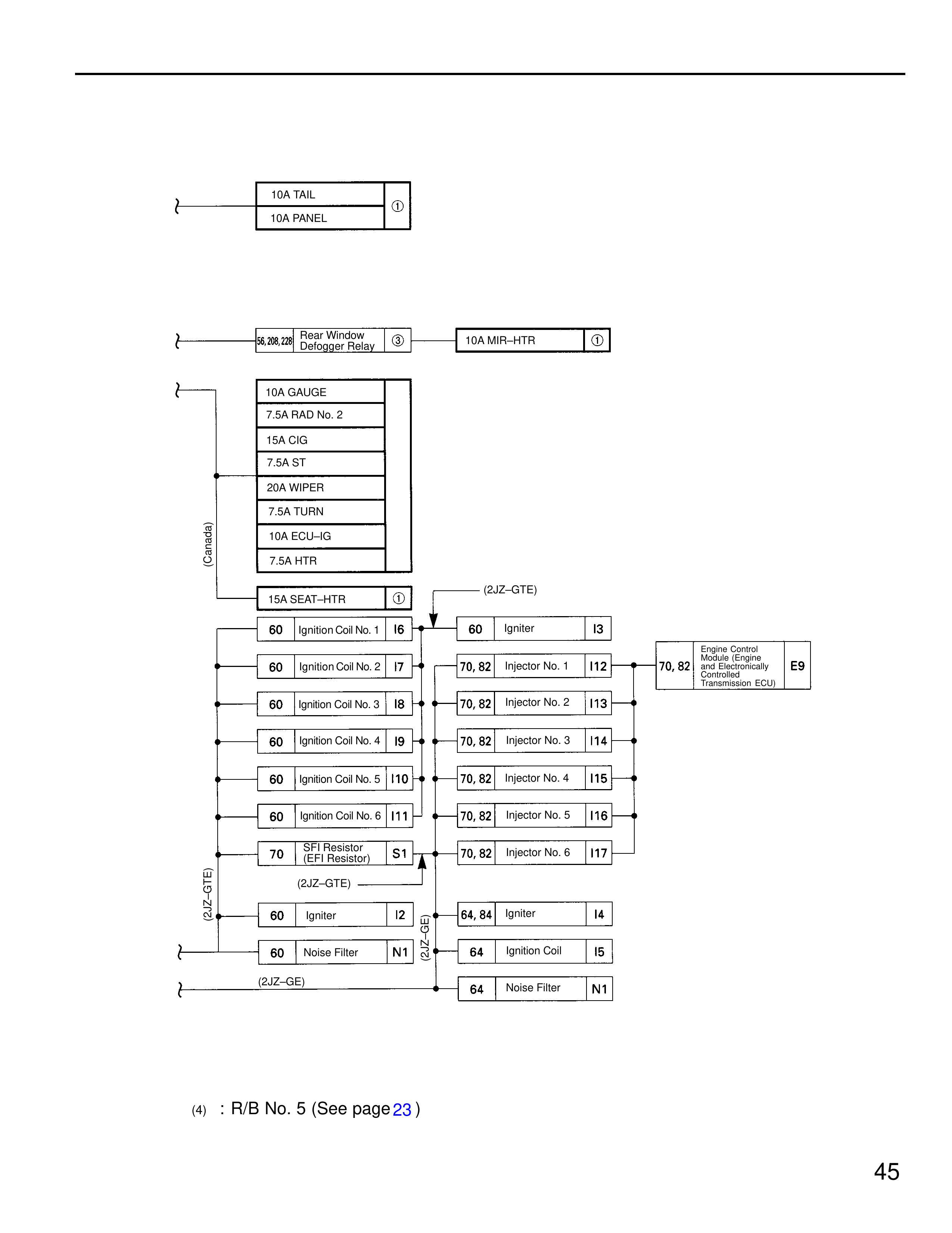
10A TAIL
10A PANEL
①
5, 206, 220
Rear Window Defogger Relay
③
10A MIR-HTR
①
10A GAUGE
7.5A RAD No. 2
15A CIG
7.5A ST
20A WIPER
7.5A TURN
10A ECU-IG
7.5A HTR
(Canada)
15A SEAT-HTR
①
(2JZ-GTE)
60
Ignition Coil No. 1
I6
60
Igniter
I3
60
Ignition Coil No. 2
I7
70, 82
Injector No. 1
I12
70, 82
Engine Control Module (Engine Controllex (Powertrain Controllex) Transmission ECU)
E9
60
Ignition Coil No. 3
I8
70, 82
Injector No. 2
I13
60
Ignition Coil No. 4
I9
70, 82
Injector No. 3
I14
60
Ignition Coil No. 5
I10
70, 82
Injector No. 4
I15
60
Ignition Coil No. 6
I11
70, 82
Injector No. 5
I16
70
SFI Resistor (EFI Resistor)
S1
70, 82
Injector No. 6
I17
(2JZ-GTE)
(2JZ-GTE)
60
Igniter
I2
64, 84
Igniter
I4
(2JZ-GE)
60
Noise Filter
N1
64
Ignition Coil
I5
(2JZ-GE)
64
Noise Filter
N1
(4) : R/B No. 5 (See page 23)