AT2–86
A340E (2JZ—GTE) AUTOMATIC TRANSMISSION – TROUBLESHOOTING
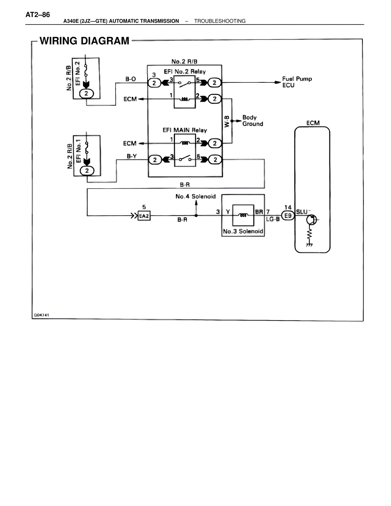
WIRING DIAGRAM
No.2 R/B
EFI No.2
No.2 R/B
EFI No.2 Relay
B-O
3
2 3 o 5 2
Fuel Pump
ECU
ECM ← 1
mm 2 2
W-B Body
Ground
ECM
No.2 R/B
EFI No.1
EFI MAIN Relay
ECM ← 1
mm 2 2
B-Y
2 3 o 5 2
B-R
No.4 Solenoid
5
>>EA2
3 Y
BR 7
14
E9
SLU-
B-R
LG-B
No.3 Solenoid
Q04741