
BR-66
BRAKE SYSTEM — ANTI-LOCK BRAKE SYSTEM (ABS)
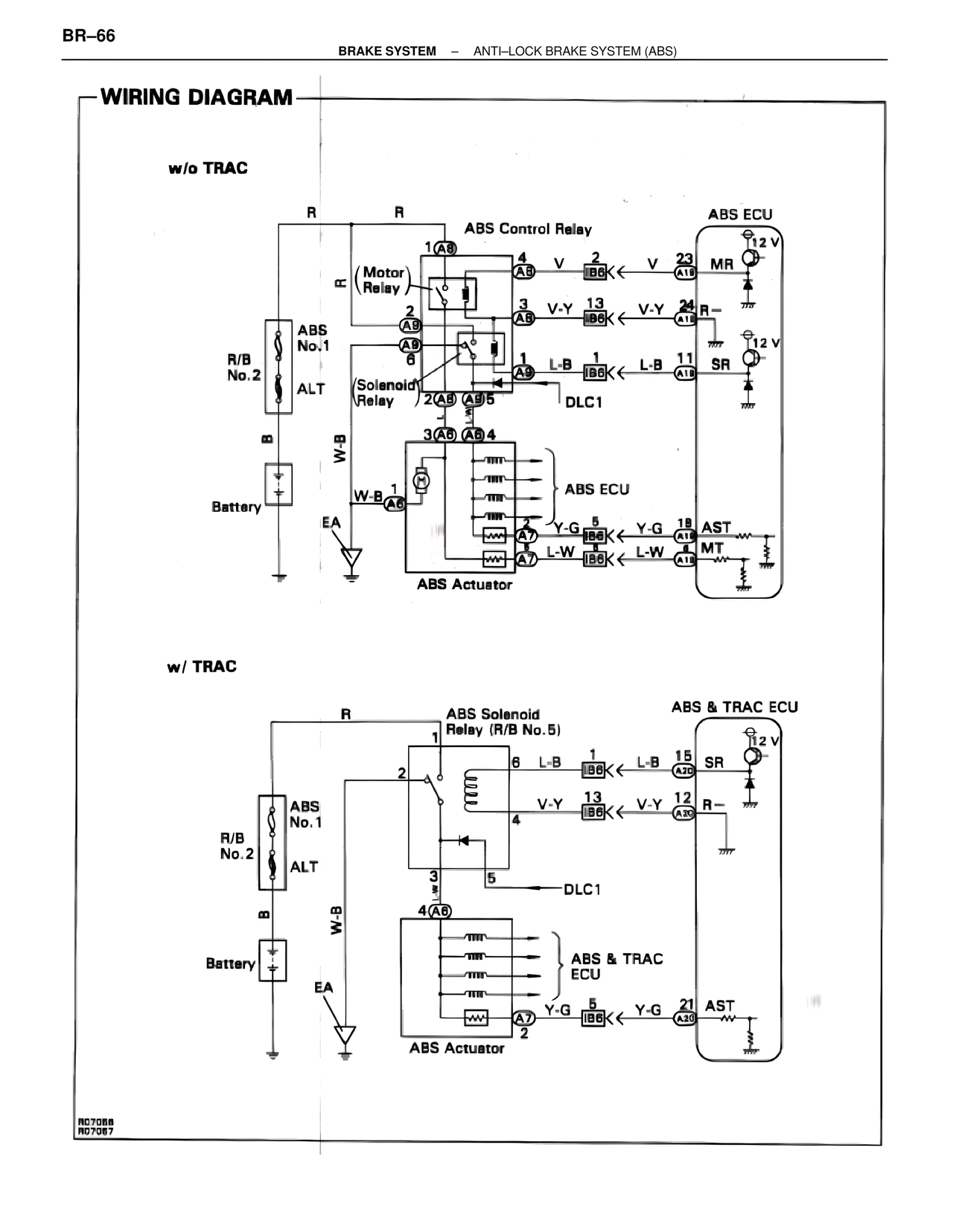
WIRING DIAGRAM
w/o TRAC
R R
ABS Control Relay ABS ECU
1(A8) 12 V
4 V 2 23 MR
( Motor ) A8 IB6 V A19
Relay
3 V-Y 13 24
2 A8 IB6 V-Y A19 R-
A9
ABS A9
No.1 8
R/B 1 L-B 1 L-B 11 12 V
No.2 A9 IB6 A19 SR
ALT
Solenoid
Relay 2(A8) A9 5
3 DLC1
3(A8) (A8) 4
B
M
W-B 1
Battery A6 W-B ABS ECU
EA
Y-G 5 Y-G 18 AST
A7 IB6 A19
A7 L-W L-W 4
IB6 A19 MT
ABS Actuator
w/ TRAC
R ABS Solenoid ABS & TRAC ECU
Relay (R/B No.5)
1 12 V
2 6 L-B 1 L-B 15 SR
IB6 A20
ABS V-Y 13 12
No.1 4 IB6 V-Y A20 R-
R/B
No.2 ALT
3 5
DLC1
B 4 A6
W-B
Battery ABS & TRAC
ECU
EA
A7 Y-G 5 Y-G 21 AST
IB6 A20
ABS Actuator
R07066
R07067