AT2–76
A340E (2JZ—GTE) AUTOMATIC TRANSMISSION – TROUBLESHOOTING
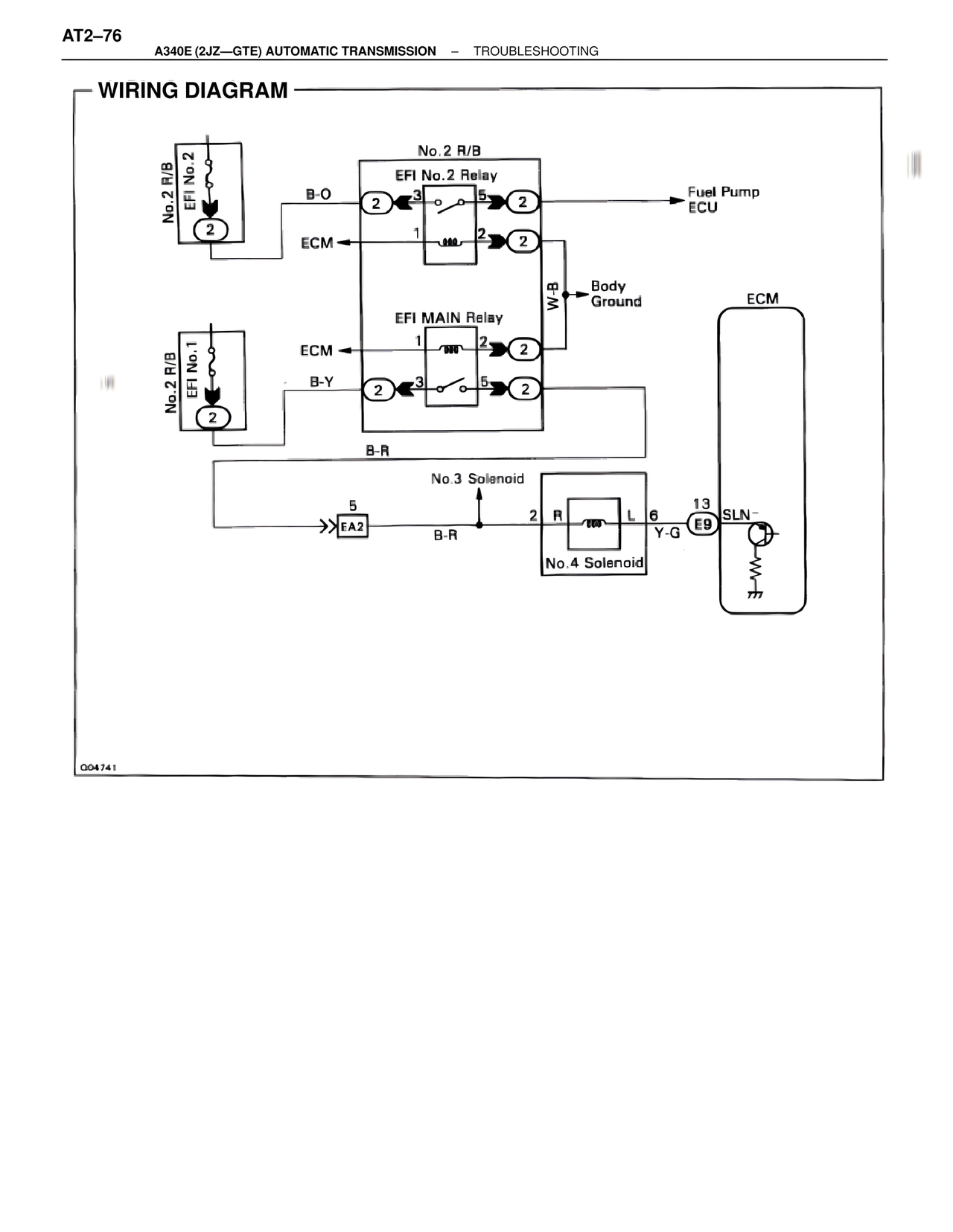
WIRING DIAGRAM
No.2 R/B
EFI No.2
No.2 R/B
EFI No.2 Relay
B-O
2 3 o o 5 2
Fuel Pump
ECU
ECM ← 1 ↓↓↓ 2 2
W-B → Body
Ground
ECM
EFI MAIN Relay
ECM ← 1 ↓↓↓ 2 2
No.2 R/B
EFI No.1
No.2 R/B
EFI No.1
B-Y
2 3 o o 5 2
B-R
No.3 Solenoid
5
>>EA2
B-R
2 R ↓↓↓ L 6
Y-G E9 13 SLN-
No.4 Solenoid
G04741